Authentication Architecture

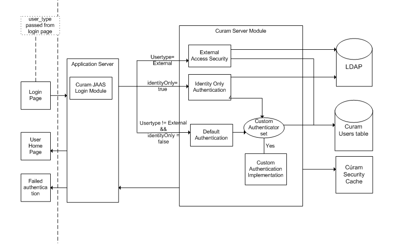
Figure 1. Authentication ArchitectureCúram Authentication Architecture

Authentication Architecture , above, outlines the architecture for the authentication process of a user. Out-of-the-box, default authentication is performed for a user. This behavior can be customized for both internal and external users, depending on the authentication requirements. The following sections in this chapter describe in detail each of the functional areas that make up the authentication architecture, indicating where customizations are possible.